| İlginç,
garip veya absürd buluşlara ait aşağıdaki çizimler ABD'nde tescil
edilmiş gerçek patentlere aittir.
Bazı patent numaraları buluş sahibini rencide etmemek için değiştirilerek
yayınlanmaktadır.
(Kaynak: www.totallyabsurd.com)

(Büyük resim için tıklayınız)
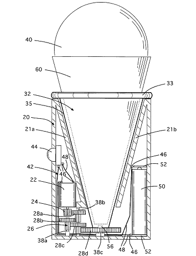
Motorlu (pilli) dondurma külahı döndürme makinesi
Motorized ice cream cone, 1999, US Patent No: 5,971,829

(Büyük resim için tıklayınız)
Otomatik yatak yapma makinesi
Automatic Bed Maker, 1984, US Patent No: 4,441,222

Yerinde duramayan hiperaktif bebekler için bebek bezi değiştirme aparatı!.. :)
Junior Jail
US Patent Issued In 1980

Motorlu bebek pışpışlayıcı!.. :)
Baby Patter
US Patent Issued In 1971

Motorsiklet sürücüleri için hava yastıklı yelek
Flying Turtle
US Patent Issued In 2000

Soğutuculu ayakkabı
(kompresörü topuğa bağlı bir ısı pompası ile yürüme sırasında ayakkabı içinde soğutma sağlanır)
Cool Shoes
US Patent Issued In 1994

Yürüken enseye masaj yapan, robot eli
Cyborg Massage
US Patent Issued In 2002
Motorsiklet
sürücüleri için kazalarda vücudun
birçok bölgesini koruyan hava yastığı:
Motorcycle Airbag, US Patent 4,825,469 / Issued 1989 |
Yelkenli
Bisiklet:
Windy Wheels,
US Patent 4,735,429 /
Issued 1988 |
Yaylı
ve tahrikli ayakkabı: Yukarı aşağı salınım ile tekerleğe
ileri doğru dönme tahriği sağlanır:
Pogo Shoes, US Patent 3,977,094 / Issued 1976 |
Ayak
çemberleri: Küçük
çaplı paten tekerleklerinin yoldaki
pürüzlerden kolay etkilenme problemini çözmek için büyük
çaplı bisiklet tekerinin ayağa adapte edilmiş hali:
Foot Hoops, US Patent 4,363,493 / Issued 1982 |
Bu
rüzgarla çalışan ototmobil ayna temizleyicisi otomobilin
hareketi sırasında oluşan rüzgarla yaptığı salınım sırasında
aynayı temizler!:
Windy Widget, US Patent 5,802,060 / Issued 1998 |
Hava
korsanına karşı bayıltıcı iğne: Bu iğnenin emniyet
önlemi olarak uçaktaki her koltuğun altına konulması öngörülüyor...
Hijacker Injector, US Patent 3,481,328 / Issued 1974 |
İçi
helyum dolu bu uçan yatak kullanılmadığı vakit
tavanda durarak yer kaplamıyor:
Floating Furniture, USA patent 4,888,836 / Issued 1989 |
Parmak
ucu diş fırçası ile fırçalama sırasında dişlerinizi
hissedebilmeniz hedeflenmiş:
Fingertip Toothbrush, 5,875,513 / Issued 1999 |
Bu
çöp temizleme giyisisi ile sadece ayaklarınızı
açıp yürüyerek bahçenizdeki kuru yaprakları temizleyebilirsiniz:
Super Trash Man, US Patent 4,943,276 / Issued 1989 |
Küvete
takılabilen bu bebek
duşu bebekleri elden kaçırmadan kontrollü bir şekilde
yıkayabilmenize olanak veriyor:
Baby Shower, US Patent 5,647,131 / Issued 1991 |
Hızlı
yemek yiyerek şişmanlamayı önlemek için tasarlanmış bu
alarmlı çatal üzerinde periyodik olarak kırmızı
ve yeşil ışıklar yanıyor; (sadece yeşil ışık yanarken
yemek yemelisiniz):
Alarm Fork, US Patent 5,421,089 Issued / 1995 |
Kötü tasarım örnekleri
Aşağıdaki
sitede ise, kullanıcı ihtiyaçları yeterince göz önüne alınmadan
yapılan kötü tasarım örnekleri ve tasarımı daha kullanışlı
hale getirmek için yapılan tavsiyeler bulunmaktadır;
www.baddesigns.com
> Bad Human Factors Designs;
Scrapbook of illustrated examples of things that are hard to
use because they do not follow human factors principles.
Not:
01-08-2006 tarihinde TurkCADCAM Grubu'na gönderdiği bir mesajla
bu orijinal ve faydalı siteden bizi haberdar eden Elif Baktır'a
teşekkür ederiz. |