Not: İlk defa TurkCADCAM.net
Dergisi Ocak-Şubat 2006 Sayısında yer almış bu yazı,
ek fotoğraflarla birlikte Ağustos 2008'de TurkCADCAM.net portalından yayınlanmaya başlamıştır.
Bize kısaca kendinizden bahseder misiniz?; Çocukluk ve/veya gençlik yıllarınızda da tasarımla ilgileniyor muydunuz? Lisans ve lisansüstü eğitimleri hangi okullarda, ne zaman aldınız? Aldığınız ödüller nelerdir?
Mirzat Koç: 1965 doğumluyum. Ellerimi kullanmaya her zaman çok önem vermişimdir. Mekanizmalar ve karmaşık şeyler her zaman ilgimi çekmiştir. Çocukluk yıllarında yapmış olduğum paten ve çok tekerlekli kaykaylar, boya kutularının üzerinde gerilmiş deriden bateriler ve yaz tatillerinde öğrenmiş olduğum el zanaatlardan biri olan zenne kunduracılığını örnek verebilirim. Her birinde ortaya çıkarmış olduğum bir ürün vardı. Ürün tasarımcısının kendini ifade etmesinin en güzel yolu budur bence.
İlk ve orta öğretim döneminde resim ve logolar yapmak ileriki yıllarda duvarlara slogan yazmakla devam etti. O konuda da belli bir özen ve tarz oluşturduğumdan olsa gerek, teşhis edilmem çok kolay oluyordu.
Akademik kariyerim özetle ise şöyle gelişmiştir;
1982 Sultanahmet Teknik Lisesi Makine Teknisyenliği Bölümü'nün ardından, 1991 ODTÜ Endüstri Ürünleri Tasarımı Bölümü'nden mezun oldum. 1990 yılında Paris Les Ateliers Tasarım Okulu'nda bir yaz çalıştayına katıldım. 1995 sonunda Pratt Institute New York'ta Endüstri Ürünleri Tasarımı Yüksek lisansımı tamamladım.
15 yıla yakın tasarım kariyerim süresince Amerika, Avrupa ve Japonya'da birçok ürün tasarımı ödülü aldım. Başlıcaları;
1995 Motorola çocuklar için çağrı cihazı tasarım yarışması, 1997 RedDot, 1998, 2000 ve 2002'de IDEA ABD Ürün tasarımı ödülleri ve 2003'te Surface Dergisi tarafından en iyi 10 Tasarımcıdan biri seçildim ve ürünlerim Milano ve NewYork'ta sergilendi. Tabii ki en değerlileri evlerde ve işyerlerinde kullanılan ve değer verilen tasarımlarımızdır.

İdeolog NY Ofisi'nden bir köşe.
ABD/NY'a yerleşmeniz nasıl oldu? Hangi firmalara ne gibi projeler yaptınız?
Mirzat Koç: ABD'ne 1992'de Milli Eğitim Bakanlığı'nın açmış olduğu Ürün Tasarımı Yüksek Lisans Bursu'nu -ki kazanmış olduğum en değerli ödüldür benim için- kazandıktan sonra gidebildim.
Yüksek lisans eğitimim ile eş zamanlı olarak, New York çevresinde bulunan birçok firmada serbest tasarımcı olarak çalıştım. Ürün tasarımı kariyerimin en önemli kısmını oluşturan bu dönemde birbirinden çok farklı sektörlerde "öğrenerek" çalıştım.
Spor malzemelerinden, medikal ürünlere, motosikletlerden patenlere kadar, ilginç gelebilir, Kızılderili yerlileri balık tutma zokalarına kadar varan ürünlerin tasarımında bulundum. Elbette, bütün bunlar paha biçilmez deneyimler bir tasarımcı için. Belli başlı iş yaptığım ürün ve firmalardan örnek vermek gerekirse;
Kodak için dijital fotoğraf makineleri, Symbol Technologies için barkod okuma sistemleri, Graco için çocuk puseti, Laerdal için medikal ürünler, Fujitsu ve Panasonic için kişisel bilgisayarlar, fotoğraf makineleri ve fotokopi cihazları, Waterpik için duş başlıkları örnek verilebilir. Elbette, her birini sıralamak imkansız; Sadece Kodak firması için 17'nin
üzerinde farklı ürün tasarımında bulundum ve katkılarımız devam etmekte.

Barkod okuma cihazları tasarım sürecinden tipik bir görüntü. 3 boyutlu köpük modeller tasarım süreci açısından sürekli ergonomi testi yapmaya çok yatkındır.

Avuç içi bilgisayar ve telefon cihazlarına barkod teknolojisi uyarlamasından örnekler.

Graco için tasarlanmış puset
ABD'nde uygulanan yeni ürün geliştirme prosesi nasıl işliyor? Diğer proje ekibindeki farklı disiplinlerden olan pazarlamacılar, makine, imalat, elektronik ve bilgisayar mühendisleriyle iyi bir diyaloga girerek verimli bir şekilde çalışmak için hangi yöntemleri kullanıyorsunuz?..
Mirzat Koç: Yeni ürün geliştirme sürecini özetle açıklamak gerekirse;
Her şey müşterinin hazırladığı brifing ve istekle başlıyor. Şirketler belirledikleri iş planlarına göre, hangi ürünlerde ve sektörlerde etkin olmak istediklerini ve vizyonlarını bize iletiyorlar.
Bu vizyona anlam ve şekil vermek, sözcükleri nesneye dönüştürmek bizlere düşüyor. Bazı projelerde, özellikle platform projelerde, birçoğunuzun bildiği "beyin fırtınası - brain storming" çalışmaları yapılıyor. Bu çalışma şekli esasen her tasarım ofisinde en az iki kişi olduğu sürece uygulanan bir metot. Benim anlatmak istediğim ise, daha sistemli ve profesyonel ekipler tarafından organize edilen bir çalışma şekli.
Kısaca söyle: Bolu'da güzel bir otel düşünün. Buraya Dünya'nın farklı ülkelerinden insanlar çağırın. Mühendisler, bilim adamları, girişimciler, sporcular, müzisyenler, Dünya'nın kendileri etrafında döndüğünü düşünenler, aklına her geleni söyleyenler, çok bilgili olup-çok az konuşanlar ve daha nice farklı yaş, bilgi ve kültür gruplarından 25-30 kişilik bu grubu 3 gün boyunca günde 8 saat bir mekanda konuşturun. Organize edenlerin en önemli yeteneği, katılımcıları destekleyen ve fikirlerin açığa çıkmasını tetikleyen tarzları.
Tüm bu süreç yaşanırken de salonun iki ucuna, her sözü, vücut hareketini izleyip, çok hızlı bir şekilde karikatür tarzı bir çizim tekniği ile görsele dönüştüren iki tane de ressam/karikatürist yerleştirin.
Bu üç günün sonunda ortaya binlerce fikir ve bir o kadar da resim çıkar. Her bir resim, bakıldığında, bir fikri, temayı çok akıllıca ve akılda kalıcı bir şekilde ifade eder. Bu üç günün sonunda bilgiler toplanır, elemeler yapılır ve projenin yönü belirlenir. Bundan sonrası ofisimizde devam eder. Bu resimlere ve sözcüklere anlam vermek ürün tasarımcısına düşer. Eskiz çalışmaları, sunumlar, maketler, prototipler birbirini takip eder. Süreç boyunca sürekli diyalog halinde malzemeciler, mühendisler ve pazarlamacılar ile çalışılır.
Müşterimizde ve bizde olmayan destek ise dışarıdan temin edilir; Örneğin hızlı prototip yapımı vs. gibi.
Bu sistemin her projede uygulanmadığını belirtmekte fayda var sanırım. Bu tarz çalışmanın maliyeti oldukça yüksektir. Buna benzer çalışmaları daha küçük ve makul ölçekte yapabilmek de mümkündür. Biz projelere bu tarz çalışmayı kendi ölçeğimizde her zaman uygulamakta -bütçe elverdiği müddetçe- gayret gösteriyoruz.

Beyin fırtınası sürecinde ortaya çıkan fikir, sözcük ve imaların görsel tercümesi.


Beyin fırtınası ardından fikir geliştirme sürecinde ortaya çıkan soyut 3D form ve fonksiyon modelleri

2 boyutlu arayüz ve fonksiyonel analiz çalışmaları.

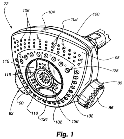
Water Pik Inc. (www.waterpik.com) için tasarlanmış,
sıcak-soğuk ayarları başlık üzerinde düzenlenmiş düş başlığı

US Patent No: 6,739,523 - Multi Functional Shower Head, May 25, 2004
Bu patenti PDF formatında indirmek için tıklayınız (1,1MB)
|