2.4.2.8 Yolluk burcu
Silindirik bir parça genellikle kalıbın dişi kısmına yerleştirilir. Enjeksiyon ünitesinin kalıbı doldurması için, giriş noktasıdır. Diğer görevi de makine memesi ile burç arasındaki sızıntıyı en aza indirmektir. İçeri eğimli baş kısmına sahiptir. Bu kısım çok iyi parlatılır. Eğlendirilerek soğumuş yolluk girişinin kalıp açılması esnasında, parçanın makineden ayrılmasını sağlar. Kalıbın erkek kısmıyla beraber atılmasını sağlar.
Şekil 24 Yolluk Burcu
2.4.2.9 Yolluk flanşı
Dişi kalıp plakasının arkasına açılmış yuvarlak boşluk içine konulan merkezleme halkasıdır. Bunun fonksiyonu kalıbı sabit plakaya yerleştirmektir. Bu sabitleme halkası hassas bir parçadır. Enjeksiyon ünitesi ile yolluk burcunun aynı merkezde olmasını sağlar. Olmaması halinde kullanımı esnasında memeden polimer sızması olur. Sabitleme halkası ilave olarak, yolluk burcunun üzerinde yerleştirilebilir
Şekil 25 Yolluk Flanşı
2.4.2.10 Bağlantı plakaları
Burada kalıp ayırım çizgisi kalıbın erkek ve dişi kısmının yapılma hassasiyetine bağlıdır. Sonuç olarak; arka plakanın ayrım çizgisine bağlıdır. Arka plaka genellikle aşağıdaki fonksiyonlar için kullanılır:
- Her iki kalıp parçasını bir arada tutan bağlantı yeri olarak,
- Kalıbı makine plakasına bağlamak için yer temin etmesi,
- Kalıp yapımında sertliği sağlaması,
- Bağlantı destek kalıplarının boyutu bir kalıptan diğerine standardize edilir
Şekil 26 Üst Bağlantı Plakası
Şekil 27 Alt Bağlantı Plakası
2.4.2.11 Kılavuz Pimler
Sulanmış ve taşlanmış pimler plakaların birine pres edilmiştir. Kalıp takımının iki yarım kısımlarını tam ayarında (sağa-sola kaçmamaları için) tutar.
Şekil 28 Kolon Pimi
2.4.2.12 Burçlar
Sulanmış ve taşlanmış burçlar plakaların birine pres edilmiştir. kılavuz pimlere yataklık yaparlar.
Şekil 29 Burç
* Çekme mukavemeti en yüksek termoplastiklerden biridir ve çekme gerilimi 3,5 kg/mm²’dir. Bu lastik katkı maddeleriyle güçlendirildiğinde çekme gerilimi 112,5 kg/ mm²’den 386 kg/mm²’ye kadar yükseltilebilir.
* Kırılganlığı azdır.
* İyi bir aşındırma özelliğine sahiptir ve sürtünme kat sayısı ortadadır.
* Isıya karşı dirençlidir ve 150 Cº’nin altındaki buhardan etkilenmez.
* Açık havaya karşı yüksek dirençlidir.
* Kimyasal asitlere karşı dirençlidir ve sulandırılmış asitlerden etkilenmez.
* Elektrik iletkenliği olmadığı için iyi bir izolasyon malzemesidir.
* Yoğunluğu az olan (0,89 g/cm³) termoplastiklerdendir.
* Kolayca kaynak edilebilir, talaşlı işlenebilir. Uygun yapıştırıcılarla yapıştırılabilir, baskı ve markalama yapılabilir.
En çok ev aletlerinin yapımında, hastane ve fizik laboratuvarı aletleri, pil koruyucu kutusu, taşıma çantası, sandalye ve sehpa, çöp sepeti, çamaşır makinesi merdanesi pedal, su tesisatı bağlantı elemanları (manşon, körtapa vb), otomotiv sanayiinde kopolimer olarak akümülatör gövdesi, elektrik kablosu, ayakkabı topuğu, halat ve boru yapımında kullanılır.
* Yoğunluğu 1,2 g/cm³’tür.
* Boyutsal ölçülerinde değişiklik olmayan en iyi termoplastiklerdendir. Çekme payı % 0,0125 mm’den azdır.24
* 140 Cº’ye kadar sıcaklıklara karşı dayanıklıdır.
* Şeffaftır ve ışık kırılma indeksi 1,586’dır.
* Mekanik özellikleri çok iyidir, çekme dayanımı 668 kg/cm²’dir.
* 60 Cº’ye kadar olan sıcak sudan etkilenmez. Ayrıca gres, makine yağı, deterjan ve asitlere karşı dirençlidir.
* Elektrik iletkenliği yoktur. Bu nedenle iyi bir izolasyon malzemesidir ve rutubetten etkilenmez.
* Şeffaf olmasına rağmen bütün renkler verilebilir.
* Işıktan ve açık havadan etkilenmeyen bir malzemedir.
Hafif, dayanıklı ve saydam oluşu nedeniyle sinyal lambaları dahil otomotiv sanayiinde, sokak ve trafik lamba kapakları, pencere camı, elektronik ve telekomünikasyon parçaları, büro ve iş makineleri gövdeleri, gıda ambalajında, ev alet ve takımları, reklam panoları, inşaat ve dekorasyon yapımında kullanılmaktadır.
2.5.3.1.1.Özellikleri
* Süt beyaz renktedir.
* Kimyasal maddelere ve korozyona dayanıklıdır.
* Işığa ve açık havaya dayanıklı değildir. Katkı maddeleri katılarak bu problem ortadan kalkar.
* 80-85 Cº’ye kadar kullanılabilir. Yüksek sıcaklıkta giderek yumuşar ve parçalanır.
* Yoğunluğu 0,91 g/cm³’tür.
* Mekanik dayanımı orta derecede olup uzaması ve darbe dayanımı yüksektir. Çekme dayanımı 100-300 kg/cm²’dir.
* Elektrik yalıtımı çok iyi olup yüksek frekanslı yerlerde teflon grubu plastiklerden hemen sonra gelen uygun bir malzemedir.
* Levha ve parça halinde sıcak hava ve diğer yöntemlerle kaynak edilebilir. Sıcak dikişle yapıştırılabilir.
2.5.3.1.2.Uygulama Alanları
* Ambalaj torbaları, sera örtüleri, şişe, bidon, beyaz eşya, oyuncak, çeşitli makine parçaları yapımında kullanılır.25
2.5.3.2.1.Özellikleri
Suya, kimyasal maddelere karşı direnci iyidir.
* Işığa ve açık havaya karşı dayanıklı değildir. Katkı maddeleri katılarak bu problem ortadan kalkar.
* Mekanik özellikleri çok iyi olup özellikle darbe ve çekme dayanımları yüksektir.
* Çekme dayanımı 225-350 kg/cm², sıcaklık dayanımı 100 Cº üzerindedir.
* Elektriksel uygulamalara da çok elverişlidir.
2.5.3.2.2. Uygulama Alanları
* Basınçlı borular, gaz dağıtım boruları, şişe, bidon, beyaz eşya, makine parçaları, oyuncak, elektrik ve elektronik eşya, suya dayanıklı olduğundan tekne, depo ve poşet torba yapımında kullanılır.
* Yoğunluğu 1.4 g/cm³’tür.
* Kimyasal etkilere ve aşınmaya karşı direnci fazladır.
* Kolayca renklendirilebilir.
* Çekme dayanımı 140-240 kg/cm²’dir.
* Açık havadan etkilenmez ve su emme özelliği yok denecek kadar azdır.
* Elektrik yalıtma özelliği iyidir.
* Yalıtım malzemesi olarak ince zil tellerinde, kalın yer altı kablolarında, boru, elektrik süpürgesi parçaları, elektrik bağlantı setleri, dalgıç ayakkabıları, oyuncak, koltuk ve yatak süngerleri, teyp sanayi, ince film halinde kâğıt ve kumaş gibi maddelere kaplanabilmekte, dosya kapakları, döşemecilik ve tıbbi cihazların yapımında kullanılmaktadır.
* Yoğunluğu 1,05 g/cm³’tür.
* Şeffaf ve renksizdir. Işık kırılma indeksi 1,59’dur. Bütün renkler verilebilmektedir.
* Mekanik özelliği iyidir ve çekme direnci 4,9 kg/mm²’dir.
* Açık havadan etkilenmez ve kapalı yerde çevreye çok iyi uyum sağlar.
* Cam tozu ile güçlendirildiğinde çekme payı miktarı yok denecek kadar azdır.
* Üretimi kolay ve zaman alıcı değildir.
* Elektrik yalıtma özelliği iyidir.26
* Paketleme işlerinde, oyuncak, ev eşyası, tarak, kapak, kullanılıp atılan tabak, çöp sepeti, ışıklandırma panosu, teyp kaseti, döşemecilik, çeşitli makine aksamları, telefon, bilgisayar, elektrik ve elektronik endüstrisi için gerekli parçalarda, gıda ve tekstil sanayinde kullanılır.
* Yoğunluğu 1,04 g/cm³’tür.
* Mekanik özelliği çok iyidir.
* Çekme dayanımı 560 kg/cm², cam elyaf katkılı 773 kg/cm², karbon elyaf katkılı 1125 kg/cm², ABS-PC alaşımında 635 kg/cm²’dir.
* Sertlik darbe dayanımı ve uzama değerleri de bu değişime paralel olarak artar veya azalır.
* İyi bir yüzey kalitesine sahiptir.
* Aşınmaya karşı direnci fazladır.
* İyi bir elektrik izolasyon malzemesidir.
* Su ve rutubetten etkilenmez.
* Nem alma özelliğinden dolayı kullanmadan önce 2 saat kadar 80-90 Cº’de kurutulur.
* Televizyon ve güç donanımı kabinleri, anahtar (switch) kutuları, ızgara ve gövde panelleri, takım çantası, tıbbi emme pompaları, dekoratif eşya, oyuncak, telefon gövdeleri, büro-iş makineleri gövde ve parçaları, boru ve bağlantıları, depo ve soğutucu iç astarları, çanta ve bavul (sert görünümde), tüfek dipçikleri, hassas ölçülü askeri amaçlı (antitank plastik mayın) ürünler, bina inşaat malzemeleri ve eğitim malzemeleri yapımında kullanılır.
* Yoğunluğu 1,25 g/cm³’tür.
* Çekme, basma ve sürünme dayanımları çok yüksektir.
* Işık kırılma indeksi 1.633’tür.
* Bu polimerden yapılan ürünler özelliklerini -150Cº’den 300Cº’ye kadar bir yıldan fazla bir süre koruyabilir.
* Asit, baz ve tuz çözeltilerine direnç gösteren malzeme deterjan, yağ ve alkollerden etkilenmez.
* Tıbbi araç gereçler, gıda üretim donanımı, elektriksel bağlantılar, otomotiv sektöründe sigorta ve anahtar yuvaları, bobin gövdeleri, TV elemanları, korozyona dayanıklı borular, pompalar, filtre elemanları, kamera ve saat gövdeleri, batarya yalıtma plakaları, uzay ve havacılık sektöründe kullanılmaktadır.
3. KALIP TASARIMI
3.1 Bilgisayar Destekli Tasarımın
Bilgisayar Destekli Tasarım (CAD) adından da anlaşılacağı gibi bilgisayar yardımı ile tasarım yapma eylemidir.Bilgisayar destekli tasarımın insan hayatının birçok alanında, sağlık sektöründe, ulaşımda, mimarlıkta, bilim kurgu filmlerinde kullanılması kaçınılmaz hale gelmiştir. Mühendislik uygulamalarında, tasarım ile birlikte esas olarak analiz ve üretim metotlarının önemi bilinmektedir. Tasarımı yapılmış bir parçanın analiz ve üretim simülasyonu bilgisayar ortamında üç boyutlu geometrik modelleme ile yapılmaktadır. Bu sebeple, tasarımın üç boyutlu geometrik modelleme ile yapılması tasarımın görsel olarak sunulmasına, analiz yazılımlarının kullanılmasından önce veri hazırlanmasına, analiz yazılımlarının kullanılmasından sonra sonuçların değerlendirilmesine ve bilgisayar destekli üretime olanak sağlamaktadır.
Plastik parça ve kalıp tasarım teknolojisi yıllar boyu gelişme göstermiş ve bununla birlikte birçok problem ortaya çıkarmıştır. Günümüzde kullanılan birçok kalıp tasarımları, uzun yıllar gelişme ve büyüme gösteren plastik endüstrisinde pratik yapmış; uzman, sanatkar ve usta tarafından deneme yanılma yöntemleriyle ortaya çıkmıştır. Plastik endüstrisinin gelişmesiyle birlikte polimer malzemelerin anlaşılması ve proses parametrelerinin değiştirilmesi ile gösterdikleri reaksiyonlar hakkındaki bilgilerde de gelişme meydana gelmiştir. Sonuç olarak, şimdiye kadar sanat olarak düşünülen plastik tasarımındaki birçok olgu hakkında, plastik teknolojisinin gelişme göstermesiyle, açıklama elde edilmiştir.Geçmişte elde edilmiş bu kurallar günümüzde çeşitli analiz araçlarına aktarılmış ve bilgisayarlar yardımıyla hızlı, verimli, hassas ve kaliteli plastik tasarımına olanak sağlanmıştır.
Plastik teknolojisinin gelişmesine paralel olarak ta CAD ve CAM konuları da yüzyılın en önemli gelişmesi olmaya aday hale gelmiştir. Geçmişte analiz ve bilgi işleme amaçlı kullanılan bilgisayarlar günümüzde tasarım işleminin temeline yardımcı olmakta ve grafiksel mühendislik bilgileri oluşturmaktadır.
Günümüzde CAD teknolojisi mühendislik tasarımına tamamıyla farklı bir metot getirmiştir. Öyle ki, CAD 'in uygulamadaki kabul edilebilirliliğine karşı çıkanlar olmuştur.Tasarımdaki bu farklı metodoloji tasarım bürolarında eski yöntemlerle tasarım yapan insanlar için anlaşılması ve kabul etmesi zor kavramları ortaya çıkarmıştır. Bütün bunlara rağmen CAD, plastik tasarım fonksiyonlarının hızını ve verimini arttırarak bir devrim gerçekleştirmektedir.
3.2. Plastik Ürün Tasarımı
Kaliteli bir ürün elde edebilmek için ürün bir çok süreçten geçer. Bu süreçlerden kaliteyi en belirleyici olan süreç ürün tasarım sürecidir. Başarılı bir ürün tasarımı kalıp tasarım sürecini kısaltır ve kolaylaştırır. Başarılı kalıp tasarımı da üretimin kalitesini belirler.
Ürün tasarım sürecinde kalıptan önce parçanın prototipi yapılarak gerekli testler yapılmalıdır
3.3 Plastik Enjeksiyon Kalıp Tasarım İlkeleri
Kalıp tasarımı, parçanın teknik resminin, bir örneğinin veya modelinin tasarımcıya verilmesi ve kalıplanacak olan parçaya ait tasarım verilerinin oluşturulması ile başlayan bir süreçtir.
Ayrıca kalıbın birlikte çalışacağı makine kavite sayısı ve eğer verilmemişse parçanınüretileceği hammaddenin seçimi de ilave olarak gerekli olan bilgilerdir. Bu bilgiler kalıp dizaynı için gerekli olmakla birlikte yeterli değildirler. Bunlara ilave olarak aşağıdaki
soruların da cevaplandırılması gereklidir.
• Seçilen plastik malzemenin kalıplanabilme karakteristiği,
• Üretim adeti
• Ürünün nerede ve nasıl kullanılacağı,
• Ürün başka parçalarla birlikte mi çalışacak veya kullanılacak (toleranslar)
• Çekme,
• Çıkış açıları,
• Ne tür bir yolluk sisteminin gerekli olduğu,
• Kavite giriş noktalan, akış ve birleşme hatları, itici izleri,
• Yüzey kalitesi.
• Parça üzerinde istenen yazılar veya şekillerin olup olmaması,
• Kalıp için gerekli başka ekipmanlar,
• Kullanılacak makinenin tonaj, parça büyüklüğü ve plastik kapasitesinin uygunluğu,
• Parçanın kalıptan alınmasının ne şekilde olacağı (otomatik veya elle)
• Proje süresi
Bir hacim kalıbın tasarımı yapılırken bütün koşullar göz önüne alınmalıdır.Çünkü bir kalıp ve o kalıbın gerçekleştirdiği operasyon çeşitli koşulları gerçekleştirmek zorundadır.
Kalıp boyutları öncelikli olarak kalıbın birlikte kullanılacağı makinenin boyutlarına bağlıdır.Genellikle varolan veya belirli bir makinenin boyutları, tasarımcının uyması gereken sınırlamalar getirir. Bu sınırlamalar:
- Maksimum malzeme miktarı : Plastik ünitesinin bir çevrimde kalıp içine sevk edebileceği ergimiş malzeme miktarı.
- Plastikleştirme hızı : makinenin her birim zaman için plastikleştirebileceği malzeme miktarı
- Kilitleme kuvveti : Kalıp boşluğu içinde meydana gelen maksimum basıncı yol açacağı reaksiyon kuvvetini karşılayan kuvvet makine kolonları arasında kalan maksimum makine plakaları alanları maksimum enjeksiyon basıncıdır.
3.3.2.2 Göz sayısının belirlenmesi
İlk olarak maksimum teorik kavite sayısı belirlenir. Bu hesaplama makinenin vida çapı ve vida hareket miktarından hesaplanmış makinenin maksimum kapasitesinin kullanılacağı varsayımına dayanmaktadır.
3.3.2.3 Kalıpta çekme ve etkileri
Sadece parça resmi ve malzemesi belli olduğunda parçada meydana gelecek çekmelerin kim tarafından göz önüne alınacağı ve uygun çekme değerlerinin seçileceği bilinmelidir. Bazı durumlarda parça tasarımcısı çekme miktarlarını belirler ve kritik kalıp ölçüleri için gerekli ölçüleri sağlar. Bu genellikle daha önce veya deneysel olarak benzer parçalarla çalışılmış olması durumunda söz konusudur.
Diğer bir nokta kalıbın farklı çekme özelliklerin sahip farklı malzemelerle kullanılıp
kullanılmayacağıdır. Eğer kalıp %0.6 oranında çekme miktarına sahip polisitrene göre
tasarlanıp imal edilmişse, polipropilen gibi çekme oranı %1.5 olan başka bir malzeme ile de kullanılabilir ancak daha yüksek çekme oranından dolayı parça daha küçük olacaktır. Ayrıca kalıpta kullanılan farklı malzemelerinde ne tür etkilerinin olabileceğinin bilinmesi gerekir çünkü bunlar parçanın yüzey kalitesini ve kalıp yüzeylerini etkiler.
3.4. Yolluk Sistemleri ve Tasarımı
Yolluk sistemi plastik ünitesinden gelen ergimiş malzemenin kavitelere sevk edilmesini sağlar. Konfigürasyonu, boyutları ve parça ile olan bağlantısı kalıbın dolma işlemi dolayısı ile de parçanın kalitesi üzerinde oldukça etkilidir. Bir yolluk sistemi genellikle farklı kısımlardan oluşur. Aşağıdaki şekil (Şekil 30) bir yolluk sistemini oluşturan kısımları göstermektedir. Bu kısımlar şunlardır;
• Yolluk girişi
• Yolluklar (birincil (ana) ve ikincil (tali) yolluklar)
• Parça girişi

Şekil 30 Yolluk sistemi
Yolluk burcu ergimiş malzemeyi plastik ünitesinden alır ve genellikle kendisine dik olan ayırma yüzeyi boyunca ona kılavuzluk eder.
Yolluklar, yolluk girişini parça girişine veya girişlerine bağlarlar. Yolluğun ana amacı
özellikle çok kaviteli kalıplarda kavitelerin aynı zamanda ve aynı şartlar (eş sıcaklık ve
basınç) altında dolmasını sağlamaktır.
Parça girişleri ise yollukla kavite arasındaki geçişi sağlarlar. Yolluğun parçadan kolayca
ayrılabilmesi ve ayrıldıktan sonra bıraktığı izin parça görünümünü etkilememesi için parça
Yolluk girişi genellikle yolluk burcu içinde şekillendirilir. Kalıp kapandıktan sonra ve makine plastik ünitesinin lülesi, kalıp ve plastik ünitesi arasındaki geçiş noktasını dışarıya izole edecek şekilde ileri doğru itildiğinde, malzeme plastik ünitesinden yolluk girişine doğru akar. Bu olay kalıbın bu bölgede lokal olarak önemli ölçüde yüklenmesine neden olur ve bu bölgenin diğer kısımlara göre daha çabuk aşınmasına neden olur. Bu nedenle yolluk burcu çelikten yapılıp sertleştirilir ve kalıba insert olarak takılır. Böylelikle aşındığı zaman kolaylıkla değiştirilebilir.

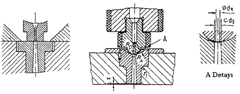
Şekil 31 gösterilen küresel temas yüzeyinin boyutları aşağıdaki genel koşullar çerçevesinde saptanır.

Şekil 32 Kontak bölgesinin doğru ve yanlış tasarımları
Yolluk çekiciler kalıp açıldığında plastik ürünle beraber yolluğun ve yolluk salkımının erkek çekirdek üzerinde kalmasını sağlamak üzere itici deliğinin bir kısmında ters açı verilerek yaratılan bölümdür.

Şekil 33 Yolluk çekicinin bulunduğa yerde görülen plastik yoğunlaşması
Yukarıda bahsedilen plastiğin çekici etrafında yoğunlaşmasını önlemek için gösterildiği gibi değişik konfigirasyonlar uygulanabilir. Böylece çekici etrafında plastik kütlesinin artması önlenir ve bu bölgenin soğuma verimi artmış olur.

Şekil 34 Sıyırıcı plakalı çekici B) İtici pimlerle beraber çekici uygulaması
Yolluk çekicilerin sayısı ve yerleşimi kullanılan plastik malzemeye bağlıdır. Tasarımcı bu sayıyı minimumda tutmaya çalışmalıdır. Çünkü ilave her yolluk çekici kalıp maliyetini, işçiliğini ve süresini arttıracaktır. Ayrıca kalıp plakasında çok sayıda delik açmak plakadan geçirilecek su kanallarını olumsuz etkileyecektir. Genellikle sert veya tok plastik malzemeler kullanılıyorsa daha az yolluk çekici veya iticiye ihtiyaç duyulur. Yolluk et kalınlığı plastik ürünün et kalınlığından her zaman daha fazla olduğu için yolluğun geçtiği bölgede aşırı ısınma gözlenecektir. Bu bölgenin ardından su kanalı geçirilerek etkili bir soğutma yapılmalıdır. Oysa burada kullanılan yolluk itici veya çekiciler için açılan delikler istenildiği gibi su kanalı geçirilmesine izin vermeyecektir. Yumuşak veya oldukça esnek plastik kullanıldığında sert, tok plastiğe göre çok daha fazla yolluk çekici kullanmak gerekir. Dengeli yolluk dağılımı kalıbın dolmasını nasıl etkiliyorsa, dengeli bir yolluk itici sistemi kurmak da plastik ürünün kalıptan dengeli bir şekilde çıkması için önem taşır. Yolluğun kalıptan ürünle beraber uzaklaştırılamaması kalıbın güvenliği için büyük tehlike yaratabilir.

Şekil 35 Yumuşak ve sert malzemeye göre yolluk iticilerinin yerleşimi
Şekil 3.9’de solda yumuşak malzemeye göre, sağda ise daha sert malzemeye göre yolluk iticilerin yerleşimi görülmektedir.
Yolluğun otomatik olarak üründen koparılıp kalıptan çıkarılabilmesini sağlayan metotlardan biri de üç plakalı kalıp tasarımı yapmaktır, iki plakalı kalıplarda tünel yolluk girişi kullanıldığında yolluk otomatik olarak üründen kopar. Fakat her ürüne tünel yolluk girişi yapmak mümkün olmayabilir. Bununla beraber yolluğun otomatik olarak atılması istendiğinde üç plakalı kalıp tasarımı iyi bir çözüm olacaktır. (Kamber, 2003)
Yolluk girişini yolluk burcundan ayıran ancak daha az kullanılan bir başka yöntem de
aşağıdaki şekilde gösterilmiştir. (Şekil 3.10) Yolluk burcu bir yay tarafından sıkıştırılmaktadır.
Kalıp dolduktan sonra plastik ünitesi lülesi yolluk burcundan ayrılır ayrılmaz yay veya yaylar yolluk burcunu geriye doğru iterek yolluk girişinden ayrılmasını sağlarlar. Şekilde iki farklı tasarım gösterilmektedir. Birincisinde büyük bir yay tek başına kullanılırken ikincisinde çevresel olarak sıralanmış küçük yaylar kullanılmaktadır. Bu yöntem sadece plastik ünitesinin vida kısmının içinde bulunduğu silindirik kısmın ileri geri hareket ettiği makinelerde kullanılabilir.

Şekil 36 Yay ile sıkıştırılmış yolluk burcu
Kendisinden beklenenleri yerine getirmesi için yolluk sisteminin tasarımında tasarımcı daha basit veya daha zor olan çeşitli seçeneklere sahiptir. Bu yüzden aşağıdaki tasarım
çözümlerinden herhangi birini seçebilir.
I. Yolluklar parça üzerinde kalırlar ve daha sonra kesilirler.
II. Yolluklar parçadan otomatik olarak ayrılırlar ve ayrı olarak kalıptan çıkartılırlar.
III. Yolluklar parçadan otomatik olarak ayrılırlar ancak kalıp içinde kalırlar.
Yolluklar, yolluk girişini kavite girişleri ile kaviteye bağlar. Malzemeyi ergimiş halde iken aynı halde, aynı sıcaklıkta, aynı basınçta ve aynı zamanda kavitelere dağıtmalıdırlar.
Plastikleşmiş malzeme soğutulmuş kalıbın yolluklarına büyük bir hızla girer. Kalıp duvarlarına yakın olan malzemeden ısı hızla çekilir ve malzeme soğuyarak katılaşır. Bu durum kanalın merkezinde akan malzeme için bir ısı yalıtım tabakası meydana getirir.
Kaviteyi doldurmak için akan plastik, sıcak akışkan bir çekirdek haline gelir. Bu sıcakçekirdek parça tamamen katı hale gelene kadar korunmalıdır. Enjeksiyondan sonraki tutma safhasındaki tutma basıncı ancak bu halde katılaşma süresince meydana gelecek olan hacimsel çekmeyi kompanze edebilmek için tam olarak etkiyebilir.
Bu gereksinim yolluğun geometrisini belirler. Malzeme tasarrufu ve soğuma koşullarından dolayı yüzey/hacim oranı oldukça küçük olmalıdır. Yolluğun boyutları, parça büyüklüğüne, kalıbın tasarımına ve kalıplanan plastik malzemenin cinsine bağlıdır. Genel bir kural olarak, artan parça boyutu ve cidar kalınlığı ile yolluk kesiti arttırılmalıdır. Büyük kesitler akışa gösterilen direncin kesit alanı ile ters orantılı olması nedeniyle ince kesitlere göre kalıbın daha kolay dolmasını sağlar. Düşük viskoziteye sahip plastikler de daha uzun veya ince kesitli yolluklara (daha uzun akış boylarına) izin verirler.
Bunların yanında parçanın mümkün olduğunca ekonomik üretilme gereksinimi söz konusudur. Yolluk artık malzeme miktarını ve parça boyutuna göre büyük ise muhtemelen soğuma zamanını da etkiler. Bu yüzden gerekli yolluk çapı Hagen-Poiseuille yasasının yardımı ile de dikkatli bir şekilde hesaplanmalıdır. Yolluktaki basınç kaybı da bu şekilde hesaplanabilir.
Yolluk kesitleri

Tablo 1 Yolluk Kesitleri
Yolluğun kesin boyutları ve yüzey kalitesi parçanın kalitesi için olduğu kadar ekonomiklik açısından da önemlidir. Yukarıdaki şekil (Şekil 7.10) en yaygın kullanılan yolluk kesitlerini, avantajlarını ve dezavantajlarını göstermektedir. Buradan parabolik kesitli yolluğun en uygun kesit olduğu ortaya çıkmaktadır.
Yolluğun yüzey kalitesi kalıplanan plastiğin cinsine bağlıdır. Katılaşarak ısı yalıtımı yapan katı kabuğun akan sıvı malzeme tarafından yerinden alınıp götürülmemesi için parlatılmamış yolluk yüzeyinin avantaj olduğu düşünülebilir. Ancak PVC, polikarbonat ve poliasetal gibi bazı plastikler için parçada oluşabilecek hatalardan kaçınmak için yolluk yüzeyinin çok iyi parlatılması hatta krom kaplanması gereklidir.
Standart yolluklar doğrudan kalıp plakaları üzerine açılırlar. Bu yüzden sıcaklıkları kalıp sıcaklığı ile aynıdır. Yolluk içindeki malzeme enjeksiyondan sonra katılaşır ve her çevrimden sonra parça ile birlikte kalıptan çıkartılmalıdır. Termoplastik malzemelerin yollukları kırma makinelerinde kırılarak tekrar hammadde olarak kullanılırlar.

Şekil 37 Kalıba gömülmemiş meme
Bir termoplastik kalıbının sıcak yolluk sistemi ayrı ve ısıtılan bir manifold olarak karakterize edilir. 180 °C den fazla olan sıcaklığı ile termoplastik malzemenin ergime sıcaklığı aralığındadır ve bu yüzden ortalama kalıp sıcaklığından 20 ile 120 °C daha sıcaktır. Manifold içindeki yolluklar ergimiş malzemeyi makine plastik ünitesi lülesinden kavite girişlerine kadar sıcaklık kaybı olmadan taşırlar.

Şekil 38 Sıcak yolluk
|