|
|
|
| Home | Previous Page
| Next Page
|
Autofabrication
Tech. > Lamination
> Bonding + Cutting:
Not: Şemadaki başlıkları tıklayarak, direkt açıklama sayfalarını görebilirsiniz.
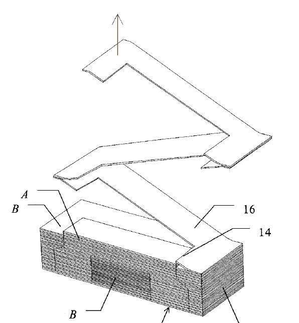
Yapıştır + Kes tekniğinde
her tabaka, bir önce inşa edilmiş olan katmana yapıştırıldıktan
sonra çeperleri lazer veya bıçakla kesilir. Parçanın inşasında
kullanılmayan hammadde ise destek işlevi görür. Bu sayede
özel bir destek yapısına ihtiyaç duyulmaz fakat inşa sırasında
bu kısımların küçük parçalara bölünmesi gerekir. Aksi
halde inşa sonrasında parçayı blok içinden çıkarmak mümkün
olmaz. Bu tekniğin uygulamalarında inşa malzemesi olarak
çoğunlukla kağıt kullanılır:
- Helisys
Inc./ Cubic Technologies Inc. (ABD), LOM, Laminated
Object Manufacturing
- Kira
Corp. (Japonya), PLT (Paper Lamination Process),
Bıçak ile her katmanın çevresini kaser.
- KINERGY,
(Singapur), Lazer ile her katmanın çevresini kaser
- Solidimension
(İsrail)
|
|
CNC tezgah üretimi konusunda
geniş bir ürün yelpazesine sahip olan Kira Corp., 1992
yılında autofabrication teknolojileri konusunda çalışmalara
başlamış ve 1994 yılında ise ilk ticari cihazını üretmiştir.


Kira SAHP (Shape Adhesive
and Hot Press)'ın Helisys LOM teknolojisinden farkları
şunlardır;
- Lazer yerine bir
bıçak ile kağıdın çeperleri kesilir
- Rulo halinde olan,
bir yüzü yapıştırıcılı kağıt yerine, A3 ebadında düz
kağıt kullanır
- Yapıştırıcı özelliğine
sahip bir toneri lazer yazıcı prensibi ile sadece
gerekli yerlere tatbik eder, bu sayede destek malzemesinin
ayrıştırılması daha kolay olur.
- Yapıştırma için
sıcak bir rulo yerine sıcak bir press ile yüzeye basılır.
|
|
Sağda,
2006 yılında piyasaya çıkan ve Nisan 2006'da yayına
başlayan yeni bir web sitesiyle (www.rapidmockup.com)
tanıtımına başlanan KATANA modeli cihaz görülmektedir.
Teknik
Özellikler:
Model No: PLT-20
İnşa malzemesi: 0,1 veya 0,16m kalınlığında özel kağıt
İnşa zarfı (Y eksen min.): 180×80×150 mm
İnşa zarfı (Y eksen max.): 180×280×150 mm
Çözünürlük: 0,025mm (X,Y), 0,10mm (Z) veya 0,16mm (Z)
Hassasiyet: ±0,5mm (X,Y), ±%3 (Z)
|

Solda ve altta, bu teknikle
üretilmiş bazı modeller görülmektedir. Sağda: Kira/
SAHP teknolojisi ile inşa edilmiş kalıp, sert bir ahşap
mukavemetine sahiptir ve kısa ömürlü plastik enjeksiyon
kalıbı olarak kullanılabilir. |
|
Yukarıda: Bazıları
sonradan boyanmış dinazor ve yunus modelleri.
|
|
1994 yılında kurulan
Kinergy, Mart 1995 yılında ilk ticari ürününü piyasaya
sürmüştür. Bu firma 2001 yılı itibarı ile autofabrication cihazları
üretimini durdurmuş ve diğer sahalarda faaliyet göstermeye
devam etmiştir.
Kinergy'nin ZIPPY ve
SW serisi autofabrication cihazları bulunmaktaydı. Helisys
LOM teknolojisi ile ile çok benzerlik gösteren bu cihazlardan
ZIPPY I modelinde 50W gücünde CO2
lazerinden yöneltilen ısı enerjisi ile her tabakanın
çevresi kesilir. ZIPPY serisinde ZIPPY I, ZIPPY II ve
ZIPPY III modelleri mevcuttur. Helisys ile olan patent
çakışması sebebiyle Kinergy orta asya ve uzakdoğu pazarını
hedeflemiştir. Fakat 1997 itibarı ile Avrupa'ya da birkaç
ZIPPY satışı yapılmıştır. Kinergy'nin cihazları Çin,
Tayvan, Almanya, Endonezya ve Singapur'da kullanılmaktadır:
ZIPPY sistemlerindeki
ısıtma sistemi ve kağıt türü Helisys'den farklıdır:
Kağıt üzerinde yüksek sıcaklıkta eriyen bir yapıştırıcı
kullanılmakdadır. Bu sayede inşa edilen ürün daha yüksek
mukavemete sahip olur. ZIPPY II 1200 mm x 800 mm ebadında
bir inşa alanına sahiptir. SW
serisi cihazlar ise plastik tabakalarla inşa kabiliyetine
sahitir. İnşa sırasında farklı renkte ve cinste plastik
malzeme kullanılabilir.
Aşağıda bu cihazlarla inşa edilmiş bazı parçalar görülmektedir.
En sağdaki ise prototip kalıp amaçlı olarak inşa edilmiştir:
   
Not: Kinergy, Singapur Ulusal Üniv. ile yaptığı
bir işbirliği ile metal tozlarıyla lazer sinterleme
(Toz
Bağlama > Isıtarak)
prensibine göre çalışan yeni bir cihaz üzerinde de çalışmaktadır.
Yüksek ergime sıcaklıklarına sahip metal tozlarını eritme
kabiliyetine sahip olacak bu cihaz yüksek güçlü lazer
kaynağı kullanmaktadır ve inşa sonrasında ek bir sinterleme
veya bakır emdirme işlemine gerek duymamaktadır.
|
|
Bu
firma 2000 yılında kurulmuştur. 2001 itibarı ile web
sitelerinden SD100c ve SD300c modellerini duyuran firma
2002'de çalışmalarını bir süre durdurmuş gözükmekteydi.
2001 yılının ortasında ikinci modellerini piyasaya sürme
planları gerçekleşmemiştir.
Solidimension sistemlerini Japonya tabanlı Graphtec
Corporation ile işbirliği yaparak geliştirmiştir.
Graphtec Corporation daha çok reklamcılıkta kullanılan
PVC kesici plotter sistemleri üretmektedir...
Temmuz
2003 tarihinde web sitelerinde SD300 modelinin
özelliklerine dair daha fazla bilgi bulunmaktadır: Bu
sistemde rulo halinde yüklenen plastik malzeme özel
bir kimyasal malzeme tatbikiyle yüzeye yapıştırılır
ve ardından çevresi bıçakla kesilir. Yapışmaması gereken
detsek malzemesi yüzeylerine ise yapıştırıcının etkisini
durduran bir kimyasal "antiglue" püskürtülür.
İnşa
sonrasında destek yapısı sağdaki resimde görüldüğü gibi
"portakal kabuğu gibi" soyulur. Bu resim Solidimension'a
ait 6,602,377 B1 no'lu ABD patentinden alınmıştır. Resmi
daha büyük görmek için üzerini klikleyiniz.
Almanya'da
Euromold 2003 Fuarı'nda ilk kez çalışır vaziyette bir
SD 300 modeli sergilenmiştir.
İnşa zarfı: 170 x 220 x 145 mm (XYZ)
Katman kalınlığı: 0.165mm
Malzeme: PVC (polyvinyl chloride, şeffaf)
Hassasiyet: +/- 0.2 mm (XY)
3D Systems, 9 Mayıs 2005 tarihinde Solidimension'a
ait bu sistemleri InVisionT LD 3-D Printer markası
altında pazarlamaya başladığını açıklamıştır;
www.3dsystems.com/products/multijet/invisionLD/index.asp
|
| Home | Previous Page
| Next Page
| |
|